作为第二成员参与大学生创新大赛获省奖
指导教师曾主持和参与厅局级、校级课题9项,发表论文14篇
帮助对接黑龙江八一农垦大学有意向搭建学生社区的其他学院
作为第二成员参与大学生创新大赛获省奖
指导教师曾主持和参与厅局级、校级课题9项,发表论文14篇
帮助对接黑龙江八一农垦大学有意向搭建学生社区的其他学院
| 序号 | 学生 | 所属学院 | 专业 | 年级 | 项目中的分工 | 成员类型 |
|---|---|---|---|---|---|---|
|
|
刘姿羽 | 信息与电气工程学院 | 数据科学与大数据技术 | 2023 | 在本项目中负责具体任务的分配,统筹及运营等工作 |
|
|
|
晏泰极 | 信息与电气工程学院 | 数据科学与大数据技术 | 2023 | 技术部研发人员网络平台的搭 建、网站运营及 维护维护 |
|
|
|
黄长超 | 信息与电气工程学院 | 电子信息工程 | 2022 | 程序开发 |
|
|
|
于海茹 | 信息与电气工程学院 | 数据科学与大数据技术 | 2023 | 负责平台后期营销策略和广告推广策略等工作。 |
|
|
|
周念峰 | 信息与电气工程学院 | 电子信息工程 | 2023 | 在本项目中负责具体任务的分配,统筹及运营等工作 |
|
| 序号 | 教师姓名 | 所属学院 | 是否企业导师 | 教师类型 |
|---|---|---|---|---|
|
|
潘妍 | 经济管理学院 | 否 |
|
随着信息技术的迅猛发展,高校教育管理逐渐向着数字化、智能化方向转型。为响应国家政策支持,为满足师生日益增长的服务需求,提升学校管理服务效率,本项目旨在搭建一个以学生为主体,集学习、生活、管理于一体的智慧校园——一站式服务平台。该平台将整合学校各类资源,提供便捷、高效、个性化的服务,打造智慧化、人性化的校园生态。
一、市场容量
据中华人民共和国教育部门报道,2023年,我国各种形式的高等教育在学总规模4763.19万人,比上年增加108.11万人,增长2.32%。我国学生群体体量大,高校对智慧校园的需求日渐增加,该项目市场前景无限广阔。
1. 西安工业大学“一站式”学生社区综合管理模式建设方案4:该方案强调了信息化赋能的重要性,提出构建线上线下相结合的学生思想政治教育阵地,其中可能包括线上预约系统以提高服务效率和管理水平。

2. 大学生“一站式”岐黄社区线上服务系统建设方案征集公告:此公告明确提出了建设目标,即以学生动态信息为数据基础,通过信息化手段对社区物理空间及场馆进行统一管理,实现资源的有效调配。这表明线上预约系统是该方案的重要组成部分。

3. 广东工业大学公共自习室管理细则9:虽然没有直接提到线上预约系统,但该细则强调了维护自习室正常学习秩序和平等使用权利的重要性,这暗示了可能需要一个有效的管理系统,包括线上预约功能,以确保资源的公平分配。

二.政策支持
学校政策支持,成立了“一站式”学生社区。为推动学工队伍常态化下沉、了解学生实际情况、解决学生实际困难提供了有利环境。将社区建设成为集学业指导、谈心谈话、就业指导、心理咨询、党团活动开展、成果展示为一体的复合功能空间。


1,2号楼连廊自习室(一站式学生社区)
1.项目概述:
随着信息技术的飞速发展和教育领域的深刻变革,传统的高校管理模式已难以满足师生对高效、便捷服务的需求。因此,我们提出了“智享学社”——“一站式”学生社区的管理平台”项目,旨在通过整合学校各类资源,运用云计算、大数据、物联网等先进技术,构建一个集学习、生活、管理于一体的智慧化服务平台。本项目旨在为现有的“一站式”学生社区搭建一个高效、便捷的管理与预约平台。该社区总面积达600余平方米,依托学生公寓连廊,设有学风建设活动室、党建示范活动室、国防教育活动室、学生日常事务办理室、“第二课堂”成绩单体验室、就业指导服务室等多个功能区域。该平台的建设旨在实现社区资源的优化配置和高效利用,为学生提供更加便捷、个性化的服务体验。
通过该平台,设置为平台管理者的师生可以提前预约社区内的各项功能区域,如学风建设活动室、党建示范活动室等,以满足其学习、交流、活动的需求。同时,平台还将提供自习室预约功能,特别是晚上自习室的预约,以满足学生晚间学习的需求,确保学生在需要时能够顺利获得学习空间。
此外,该平台还将提供社区活动的信息发布、社区讨论等功能,使学生能够及时了解社区内的各类活动,并积极参与其中。通过平台的互动功能,学生之间可以分享经验、交流心得,促进彼此之间的学习与合作。
2. 业务介绍:
(1)预约功能
功能区域预约:学生可登录平台查看各功能区域(如学风建设活动室、党建示范活动室等)的预约情况,并根据个人需求进行预约。平台将提供详细的预约流程指导,确保学生顺利完成预约操作。同时,平台支持多人预约同一时间段,以满足团队合作或班级活动的需求。
自习室预约:针对晚间学习高峰时段,平台提供自习室预约功能。学生可根据自己的学习时间安排,预约合适的自习室座位。平台将实时更新座位信息,确保学生了解座位的使用情况,避免不必要的等待和冲突。

(2)活动信息发布与参与
活动发布:社区管理员可通过平台发布各类社区活动信息,包括学术讲座、党团活动、文体娱乐等。活动信息将详细展示活动主题、时间、地点、参与对象等关键信息,以便学生快速了解并选择感兴趣的活动。

本项目参与组织的活动,地点在一站式学生社区
活动报名:学生可通过平台参与活动的报名。报名流程简单便捷,学生只需填写相关信息并选择参与人数即可完成报名。平台将自动统计报名人数,并根据活动要求进行审核和确认。
活动互动:为增加活动的趣味性和互动性,平台支持在线评论、点赞、分享等功能。学生可以在平台上分享自己的活动感受、经验心得等,与其他参与者进行互动交流。这将有助于增进学生之间的友谊和合作,营造积极向上的社区氛围。
(3)互动功能
经验分享:学生可在平台上发布自己的学习经验、心得体会等文章或视频,与其他同学分享自己的学习方法和成果。平台支持点赞、评论等功能,鼓励学生之间的互动和交流。
问题咨询:学生可在平台上向社区管理员或其他学生咨询问题。管理员将定期查看并回复学生的问题,提供及时、专业的解答。此外,学生之间也可通过平台互相解答问题,共同学习和进步。
社区论坛:平台将设立社区论坛,供学生发表观点、讨论话题。学生可围绕学习、生活、就业等方面展开讨论,分享自己的见解和经验。这将有助于拓宽学生的视野,激发创新思维。
(4) 数据统计与分析
预约数据分析:平台将收集学生的预约数据,包括预约时间、预约区域、预约人数等。通过对这些数据的分析,我们可以了解学生的学习和生活需求,为优化学生社区资源配置提供参考依据。
活动参与数据分析:平台将统计学生的活动参与情况,包括参与人数、活动满意度、活动反馈等。这些数据将帮助我们评估活动的质量和效果,为改进活动组织和策划提供有力支持。
用户行为分析:平台将分析用户在使用过程中的行为数据,如浏览记录、搜索关键词等。这些数据将有助于我们了解用户的兴趣点和需求,为优化平台功能和提升用户体验提供依据。

本项目的部分可视化数据展示图
(5)VR全景地图
本项目与身临奇境项目(学生大创项目)达成合作,平台搭载VR全景技术通过平台首页的VR地图专区,师生可以身临其境地探索学生社区,感受其真实的环境氛围。该方式具有很强的交互性,支持缩放、旋转、平移等交互操作,师生可以根据自己的需求调整视角和观看方式,获取更加个性化的体验。

黑龙江八一农垦大学的全景图像
3. 技术亮点
学生自习社区的预约平台采用了先进的技术架构,以确保系统的高效性、稳定性和可扩展性。该平台的架构主要由以下几个层次组成:
· 前端展示层:使用HTML、CSS和JavaScript等技术构建用户界面,提供直观的预约操作和信息展示。
· 后端服务层:采用Java作为主要的后端开发语言,利用Spring Boot框架简化了应用的配置和开发过程。
· 数据库层:使用MySQL作为关系型数据库管理系统,存储用户数据、预约信息和座位状态等。
· 中间件层:通过Redis实现缓存机制,提高数据访问速度,减轻数据库压力。
· API网关层:作为系统的唯一入口,处理请求路由、负载均衡和安全控制。

该预约平台的关键技术亮点体现在以下几个方面:
· 用户认证与授权:采用JWT(JSON Web Tokens)技术实现无状态的用户会话管理,确保了用户信息的安全性。
· 座位预约算法:开发了高效的座位预约算法,能够快速匹配空闲座位,同时考虑了用户偏好和座位使用情况。
· 实时数据同步:利用WebSocket技术实现了客户端与服务器之间的实时通信,确保座位状态的实时更新。
· 高并发处理:通过Tomcat作为Servlet容器,结合Spring框架的异步处理能力,有效应对高并发场景。
· 微服务架构:平台采用微服务架构设计,将不同的功能模块拆分成独立的服务,提高了系统的可维护性和可扩展性。
· 容器化部署:使用Docker容器化技术进行部署,确保了应用在不同环境中的一致性和便捷性。



技术亮点 | 描述 |
用户认证 | JWT实现无状态的用户会话管理,保障用户信息安全。 |
座位预约 | 高效算法快速匹配空闲座位,考虑用户偏好和座位使用情况。 |
实时更新 | WebSocket实现客户端与服务器的实时数据同步。 |
高并发 | Tomcat结合Spring异步处理,有效应对高并发请求。 |
微服务 | 微服务架构提高系统的可维护性和可扩展性。 |
容器化 | Docker容器化部署,确保应用一致性和便捷性。 |
思维导图:

学生自习社区的预约平台在用户界面设计上注重直观性和易用性,以满足不同用户的操作习惯。
· 界面布局:采用清晰直观的布局,主功能区域突出显示,便于用户快速定位所需功能。
· 导航设计:提供简洁的导航栏,支持用户在不同功能模块间快速切换。
· 响应式设计:界面适配不同设备,确保在手机、平板和电脑上都能提供良好的用户体验。
平台的功能模块细分为以下几个关键部分,以实现高效管理和个性化服务。
· 用户注册与管理:
o 提供用户注册、登录、资料编辑等基础功能。
o 实现用户信息的加密存储,保障用户隐私安全。
· 自习室预约:
o 支持用户根据时间、地点等条件筛选自习室,并进行预约。
o 预约成功后,系统自动发送确认信息和提醒。
· 座位选择与调整:
o 用户可在线查看自习室内的座位分布,并选择心仪的座位。
o 提供座位调整功能,以应对用户的临时变更需求。
· 预约状态更新:
o 实时更新自习室的使用状态,避免资源冲突。
o 用户可随时查看预约状态,合理安排自习计划。
· 数据统计与分析:
o 对用户的预约行为进行数据统计,分析自习室的使用情况。
o 根据数据分析结果,优化资源分配,提高自习室使用效率。
功能模块 | 描述 |
用户注册与管理 | 提供用户注册、登录、资料编辑等基础功能,保障用户隐私安全。 |
自习室预约 | 根据条件筛选自习室,进行预约,预约成功后发送确认信息。 |
座位选择与调整 | 在线查看座位分布,选择座位,提供座位调整功能。 |
预约状态更新 | 实时更新自习室使用状态,避免资源冲突。 |
数据统计与分析 | 对预约行为进行统计分析,优化资源分配。 |
![]()
学生自习社区预约平台的科技含量体现在多个方面,其中包括:
· 多端适配技术:平台能够适配不同操作系统和设备,包括PC端、移动端等,确保学生在任何设备上都能轻松访问和预约自习室。
· 实时数据处理:平台采用高效的数据处理技术,能够实时更新自习室的使用状态,确保信息的准确性和及时性。
· 智能推荐算法:利用机器学习算法,根据学生的历史预约行为和偏好,智能推荐合适的自习室和时间段,提升用户体验。
· 安全认证机制:采用先进的安全技术,如OAuth2.0、JWT等,确保用户数据的安全和隐私保护。
· 云服务支持:平台可能部署在云服务器上,利用云计算的弹性和可扩展性,应对高并发访问,保证服务的稳定性。
预约平台在用户体验方面也进行了多项优化:
· 简洁直观的界面设计:用户界面(UI)设计简洁明了,操作流程直观易懂,减少用户的学习成本。
· 个性化设置:用户可以根据自己的需求设置偏好,如选择偏好的自习室类型、时间段等,平台会根据这些偏好提供个性化的服务。
· 互动反馈机制:平台提供反馈渠道,用户可以对平台的功能、服务等提出建议或反馈问题,平台根据用户反馈进行持续优化。
· 多语言支持:为了服务不同语言背景的学生,平台可能提供多语言界面,增强平台的国际化服务能力。
· 辅助功能:如夜间模式、字体大小调整等,以适应不同用户的阅读习惯和视力保护需求。
技术亮点 | 描述 |
多端适配 | 支持PC端和移动端,提供无缝预约体验。 |
实时数据处理 | 快速响应自习室状态变化,确保信息准确性。 |
智能推荐算法 | 根据用户行为和偏好,智能推荐自习室和时间段。 |
安全认证机制 | 采用OAuth2.0、JWT等技术,保护用户数据安全。 |
云服务支持 | 利用云计算弹性,保证服务稳定性和可扩展性。 |
简洁UI设计 | 界面简洁直观,降低用户操作难度。 |
个性化设置 | 用户可根据个人偏好设置,享受定制化服务。 |
互动反馈机制 | 提供用户反馈渠道,持续优化平台功能。 |
多语言支持 | 支持多语言界面,服务不同语言背景的用户。 |
2. 物联网技术
物联网(IoT)通过集成传感器、设备互联和智能分析,实现数据的实时采集、处理和应用,推动了学生自习社区的智能化发展。

3. 技术亮点
3.1 环境监测与智能控制
· 实时监测:通过传感器监测自习室内的环境参数,如温湿度、空气质量等。
· 智能调节:根据监测数据自动调节室内环境,如自动开关空调、照明系统。
3.2 能源管理
· 能耗监控:实时监控自习室的能源使用情况,识别能耗模式。
· 优化策略:基于数据分析,实施能源优化措施,降低能耗。
3.3 安全监控
· 视频监控:部署摄像头进行实时视频监控,保障自习社区的安全。
· 异常检测:利用图像识别技术,实时分析异常行为,及时报警。
3.4 智能预约系统
· 在线预约:学生可通过移动应用或网页远程预约自习室座位。
· 智能推荐:根据学生偏好和自习室使用情况,智能推荐座位。
4. 技术架构
4.1 感知层
· 部署各类传感器和监控设备,实时采集自习社区的环境和使用数据。
4.2 网络层
· 利用无线网络技术,将感知层收集的数据传输至数据处理中心。
4.3 平台层
· 构建物联网平台,进行数据整合、存储和分析,提供智能决策支持。

技术亮点 | 应用场景 | 描述 |
环境监测 | 自习室环境自动调节 | 实时监测并自动调节温湿度、空气质量等,提升学习舒适度。 |
能源管理 | 节能减排 | 监控自习室能源使用,实施优化措施,降低能耗。 |
安全监控 | 自习社区安全保障 | 实现实时视频监控和异常行为检测,确保社区安全。 |
智能预约系统 | 自习室座位预约与管理 | 学生可在线预约座位,系统根据使用情况智能推荐座位。 |
2. 机械学习技术(深度学习)
前期通过摄像头采集大量学生社区不同单个座位使用情况的图片,通过人工分类方法将其归纳分类为组上传至服务器建立数据集,使用数据集训练CNN,并对训练好的CNN做微调。用Selective Search搜索数据集上的候选区域,通过微调后的CNN对这些区域提取特征并存储,并使用这些存储的特征训练模型。流程如下:
图1 单个座位深度学习建模流程图
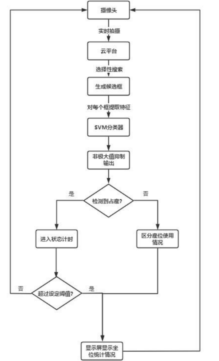
系统使用中,通过摄像头实时采集学生社区现场座位使用情况的图片,通过生成提取框、对每个框提取特征、图像分类、非极大值抑制四个步骤进行目标检测。当检测到占座则进行计时,若超过设定时间阈值进而认定此座位使用情况为占座;否则区分座位使用情况,将其结果传送到显示屏上进行显示座位使用情况,供读者查看。流程如下:
图 2单个座位深度学习目标检测流程图
②按整个区域座位使用情况图片采集
前期通过摄像头采集大量学生社区特定区域整体座位使用情况的图片,通过人工分类方法将其归纳分类为四种情况上传至服务器建立数据集,使用数据集训练CNN,并对训练好的CNN做微调。用Selective Search搜索数据集上的候选区域,通过微调后的CNN对这些区域提取特征并存储,并使用这些存储的特征训练模型。流程如下:
图 3整个区域座位深度学习建模流程图
系统使用中,通过摄像头实时采集学生社区现场座位使用情况的图片,通过生成提取框、对每个框提取特征、图像分类、非极大值抑制四个步骤进行目标检测。首先根据是否为部分座位有人情况将其分为两大类,若是则通过上述使用的单个座位检测原理具体判断是否存在疑似占座的情况,否则进行是否全部座位有人的判断。将其结果传送到显示屏上进行显示座位使用情况,供自习人查看。流程如下:
图 4整个区域座位深度学习目标检测流程图
③针对模型训练方法
? 使用mmdetection训练自己的VOC数据集模型
VOC格式是一种图片的标注规范,很多目标检测或者目标分割的算法都会遵循VOC标注规范的数据集。
VOC数据集一共分为五个文件夹
Annotations文件夹:该文件下存放的是xml格式的标签文件,每个xml文件都对应于JPEGImages文件夹的一张图片。
JPEGImages文件夹:JPEGImages内部存放了PASCAL VOC所提供的所有的图片信息,包括了训练图片和测试图片。
ImageSets文件夹:细划分数据集,包括:用于训练模型图片、用于验证图片、前面两项之和和用于模型测试图片。
SegmentationClass文件和SegmentationObject文件:存放图像分割后的结果。
使用mmdetection训练自己的VOC数据集,先按照官方文档组织VOC的数据集结构;修改mmdetection/mmdet/core/evaluation下的class_names.py中的voc_classes,将其改为要训练的数据集的类别名称;再修改mmdetection/mmdet/datasets/voc.py 下的类别,如果只有一个类,要加上一个逗号,否则将会报错;当前最新版本的配置文件在mmdetection/configs的目录下,默认情况下,这些配置文件的使用的是coco格式,只有mmdetection/pascal_voc文件夹下的模型是使用voc格式,不过数量很少,只有三个。将coco格式改为voc格式(也可以数据可以先不准备,直接将相关环境准备好后,运行训练的命令:python tools/train.py configs/faster_rcnn/faster_rcnn_r50_fpn_1x_coco.py --work-dir work_dirs运行完命令后,会生成一个包含所有配置信息的配置文件在mmdetection/work_dirs文件夹下面,名称与你训练的命令指定的配置文件名称一样。)数据部分的配置信息以及evaluation部分修改完毕,基本就可以用这个文件去加载voc格式的数据了。
首先,全局搜索num_classes,将其值改为: 类别数。把搜索到的num_classes全改掉。接着修改faster_rcnn_r50_fpn_1x_voc.py中的数据加载部分的信息,全局搜索dataset_type就能找到在哪,基本就是修改数据的位置之类的信息。最后运行命令开始训练模型:python tools/train.py configs/my_configs/faster_rcnn_r50_fpn_1x_voc.py。流程如下:
图 5使用mmdetection训练voc数据模型流程图
图 6 K210处理器实物图
该系统通过前期图片采集,人工图片分类建立模型并训练,载入K210处理器,运行代码后进行目标检测来实现实时检测座位使用情况,再通过显示屏显示。
图 7 硬件平台系统框图
4. 运营现状
1. 学生社区概述
1.1 社区规模与功能区域
“一站式”学生社区以其600余平方米的总面积,为学生提供了一个综合性的学习和生活空间。依托学生公寓连廊,社区精心设计了多个功能区域,以满足学生多样化的需求。
· 学风建设活动室:该区域致力于培养学生的学术精神和学习习惯,通过组织学术讲座、研讨会等活动,激发学生的学术兴趣和创新思维。
· 党建示范活动室:作为党建工作的重要场所,该活动室通过开展党课、党员活动等,加强学生对党的认识和理解,培养学生的责任感和使命感。
· 国防教育活动室:此区域旨在加强学生的国防意识和国家安全教育,通过宣讲会、军事训练等形式,提高学生的国防观念和爱国情怀。
· 学生日常事务办理室:为学生提供便捷的日常事务处理服务,如学生证补办、奖学金申请等,减少学生办事的时间成本,提高效率。
· “第二课堂”成绩单体验室:通过记录和展示学生参与课外活动的经历和成绩,鼓励学生全面发展,提升综合素质。
· 就业指导服务室:提供职业规划、就业指导和实习机会等服务,帮助学生更好地规划职业生涯,提高就业竞争力。
社区投入使用至今,已成功开展近20场活动,覆盖了党团班级建设、学业发展规划、国防教育宣讲、职业生涯规划、综合素质培养等多个方面,极大地丰富了学生的校园生活,促进了学生全面发展。
线上平台的初步搭建和蒲公英自习室预约功能的投入使用,进一步体现了“一站式”学生社区服务的便捷性和高效性。通过线上线下相结合的方式,社区能够更好地满足学生的个性化需求,提供更加精准的服务。
2. 社区服务与活动开展
2.1 学风建设活动室
学风建设活动室是“一站式”学生社区的重要组成部分,致力于营造积极向上的学习氛围。该活动室定期举办学术讲座、学习经验分享会、学科竞赛等活动,旨在激发学生的学习兴趣和创新能力。自投入使用以来,已成功举办了10场学术讲座,参与学生人数达到800人次,有效提升了学生的学术素养和研究能力。

2.2 党建示范活动室
党建示范活动室作为学生社区的思想政治教育基地,通过组织党课学习、主题党日等活动,加强了学生党员的党性教育。目前,该活动室已开展党团班级建设活动15次,参与党员和团员人数超过500人,有效提升了学生的政治素养和组织凝聚力。

近期在一站式学生社区举办的毕业生党员教育会
2.3 国防教育活动室
国防教育活动室是进行爱国主义教育和国防知识普及的重要场所。通过开展国防知识讲座、军事技能训练等活动,增强了学生的国防意识和集体荣誉感。至今,已举办国防教育宣讲活动8场,覆盖学生人数达600人,对培养学生的国防观念起到了积极作用。

2.4 学生日常事务办理室
学生日常事务办理室为学生提供了便捷的一站式服务,包括学籍管理、奖助学金申请、宿舍管理等事务。自开放以来,该办理室已服务学生超过1000人次,极大地提高了学生事务处理的效率和满意度。

2.5 “第二课堂”成绩单体验室
“第二课堂”成绩单体验室是对学生综合素质培养的一种创新尝试。通过记录和展示学生参与各类课外活动的经历和成果,鼓励学生全面发展。目前,该体验室已为500余名学生提供了成绩单打印服务,有效促进了学生参与课外活动的积极性。
2.6 就业指导服务室
就业指导服务室为学生提供职业规划、就业咨询、简历指导等一系列服务。自建立以来,已开展职业生涯规划讲座5场,提供一对一就业咨询服务200余次,帮助学生更好地规划自己的职业发展道路,提高就业竞争力。
3. 线上平台建设与功能
3.1 线上平台建设情况
"一站式"学生社区的线上平台建设是实现服务便捷化、信息化的关键一步。该平台已完成初步搭建,为学生提供了一个集信息发布、活动预约、事务办理等多功能于一体的线上服务窗口。

使用微信小程序开发者工具开发的页面

MysqL后台管理页面
3.1.1 平台架构
线上平台采用了模块化设计,确保了功能的扩展性和维护的便捷性。目前,平台主要分为以下几个模块:
· 信息发布模块:用于发布学校通知、活动信息等。
· 活动预约模块:允许学生预约参加社区组织的各类活动。
· 事务办理模块:提供线上办理日常事务的通道,如学生证补办等。
3.2 功能实现与使用情况
线上平台的投入使用极大地提升了学生社区服务的效率和质量,具体功能实现情况如下:
3.2.1 蒲公英自习室预约功能
· 蒲公英自习室预约功能已投入使用,学生可以通过线上平台查看自习室的实时状态并进行预约,有效解决了自习室资源分配问题,提高了自习室的使用率。

3.2.2 活动预约与参与
· 线上平台的活动预约模块已成功支持了近20场活动的预约与管理,涵盖了党团班级建设、学业发展规划等多个方面,极大地方便了学生的活动参与和组织者的管理。
3.2.3 日常事务线上办理
· 学生日常事务办理室的线上功能正在逐步完善中,目前已实现部分事务的线上申请与办理,减少了学生线下奔波,提升了办理效率。
3.3 功能拓展与未来规划
随着线上平台的初步建成,未来的功能拓展和优化将是持续进行的过程:
3.3.1 功能拓展
· 计划增加线上咨询和反馈模块,使学生能够及时获取帮助和反馈意见。
· 考虑引入智能推荐系统,根据学生的兴趣和需求推荐相关活动和资源。
3.3.2 用户体验优化
· 将持续收集用户反馈,对平台的交互设计和用户体验进行优化,确保平台的易用性和友好性。
3.3.3 数据分析与决策支持
· 利用平台收集的数据进行分析,为学生社区的管理决策提供支持,进一步提升服务质量和效率。
4. 社区活动成效与反馈
4.1 活动参与度与覆盖面
依托“一站式”学生社区开展的活动,已成功吸引了广大学生群体的积极参与。根据统计数据,自社区投入使用以来,平均每场活动的参与人数达到150人次,累计覆盖学生超过3000人次。活动内容涵盖多个领域,确保了不同专业、不同兴趣的学生都能找到适合自己的活动,有效提升了学生的综合素质。
4.2 活动影响力与教育效果
开展的近20场活动,不仅丰富了学生的校园生活,更在思想政治教育、学业发展、国防意识等方面产生了深远影响。例如,党建示范活动室举办的党团建设活动,增强了学生的组织归属感和政治认同;学业发展规划活动,帮助学生明确了学习目标和职业路径;国防教育宣讲活动,提升了学生的国家安全意识和爱国情怀。
4.3 学生反馈与满意度
通过问卷调查和访谈的方式,收集了参与社区活动的学生的反馈。数据显示,学生对“一站式”学生社区的满意度高达95%,认为社区活动内容丰富、形式多样,极大地满足了他们的学习和成长需求。特别是对就业指导服务室和“第二课堂”成绩单体验室的设立,学生们表示这为他们提供了实践锻炼和自我展示的平台,有助于提升个人能力和就业竞争力。

4.4 线上平台的使用情况
线上平台的初步搭建,特别是蒲公英自习室预约功能的投入使用,为学生提供了便捷的服务。据统计,自功能上线以来,已有超过1000人次通过线上平台成功预约自习室,显示出线上服务的高效性和实用性。此外,线上平台还计划进一步扩展服务范围,如增加活动报名、资源共享等功能,以满足学生更多的需求。
4.5 社区活动的未来规划与展望
基于当前的活动成效和学生反馈,未来“一站式”学生社区将继续扩大活动规模和种类,计划引入更多校内外资源,如邀请行业专家进行讲座、增设职业体验活动等,以进一步提升社区活动的质量和影响力。同时,线上平台也将持续优化升级,增加更多智能化、个性化服务,打造一个线上线下相结合的全方位学生成长支持体系。
5. 社区未来发展与规划
5.1 功能区域的扩展与优化
基于当前“一站式”学生社区的600余平方米的总面积,未来规划将考虑对现有功能区域进行扩展和优化,以满足更多学生的需求。计划增加的区域可能包括:
· 心理健康咨询室:为学生提供专业的心理辅导和咨询服务,帮助他们应对学习和生活中的压力。
· 创新实验室:鼓励学生参与科研项目和创新实践,提供必要的实验设备和技术支持。
· 国际交流中心:促进学生的国际视野,组织国际交流活动,提供语言学习和文化交流的平台。
5.2 线上平台的完善与升级
线上平台作为“一站式”学生社区的重要组成部分,其未来发展将聚焦于功能的完善和用户体验的升级。具体措施包括:
· 增强互动性:开发论坛、问答和投票等功能,提高学生参与度和社区活跃度。
· 个性化服务:利用大数据和人工智能技术,为学生提供个性化的活动推荐和服务。
· 移动应用开发:推出移动应用程序,使学生能够随时随地访问社区资源和服务。
5.3 社区活动的多样化与创新
为了丰富学生的校园生活,提高社区的吸引力,未来将举办更多形式多样、内容丰富的活动。计划包括:
· 主题月活动:每月围绕一个主题,如科技创新月、文化艺术月等,组织系列相关活动。
· 学生主导项目:鼓励学生自主策划和组织活动,培养他们的组织能力和领导力。
· 跨学科交流:促进不同专业学生之间的交流与合作,拓宽知识视野,激发创新思维。
5.4 社区治理与服务模式的创新
社区的治理和服务模式将不断探索创新,以提高管理效率和服务质量。可能的创新方向包括:
· 智能化管理:利用物联网和智能设备,实现社区环境的自动监测和设施的远程控制。
· 学生自治机制:建立学生自治组织,参与社区的日常管理和活动策划,提高学生的归属感和责任感。
· 校企合作模式:与企业合作,引入社会资源和专业服务,共同推动社区的建设和发展。
5.5 社区环境与文化的塑造
社区环境和文化对学生的成长具有重要影响,未来的规划将注重环境优化和文化建设。具体措施包括:
· 绿色生态社区:增加绿化面积,设置生态角,营造自然舒适的学习和生活环境。
· 文化长廊建设:展示学校的历史文化、优秀传统和杰出校友,增强学生的文化自信。
· 艺术空间打造:设立艺术展览区和表演空间,鼓励学生参与艺术创作和表演,提升审美素养。
1.需求持续增长:
随着高校扩招和学生数量的增加,对初建的“一站式”学生社区的功能和服务需求日益增加。传统的社区管理方式无法完全适应本校学生的多样化需求,因此,需要借助现代科技手段,为学生提供更加便捷、高效的服务。
本校师生对自习室、活动室等资源的预约需求日益增长,通过搭建平台,可以实现资源的优化配置和高效利用,满足学生的实际需求。
2.政策支持:
教育部门和高校对学生服务和管理工作的重视程度不断提高,出台了一系列相关政策支持智慧校园建设和学生服务平台的发展。这为为“一站式”学生社区搭建平台提供了良好的政策环境和发展机遇。

3.技术驱动:
随着移动互联网、大数据、云计算等技术的不断发展,为平台的搭建提供了强有力的技术支撑。通过应用这些先进技术,可以实现平台的高效运行和优质服务,提升用户体验和满意度。
4.市场竞争与机遇:
目前市场上已经存在一些类似的学生服务平台,但针对高校内部“一站式”学生社区的专业化平台还相对较少。因此,本项目在市场竞争中具有一定的优势和机遇。
同时,根据教育部数据,全国大学生数量约为3000万人,且持续增长。随着高校对学生服务质量要求的提高和学生需求的不断增长,该领域将迎来更多的发展机遇和市场空间。
5.发展趋势:
随着智慧校园建设的不断深入和学生服务需求的不断增长,为“一站式”学生社区搭建平台将成为未来校园管理的重要趋势。该平台将不断整合和优化资源,提供更加全面、高效、个性化的服务,满足学生的多样化需求。

综上所述,为“一站式”学生社区搭建平台具有广阔的市场前景和发展空间。随着技术的不断进步和市场的不断扩大,该项目将迎来更加美好的发展前景。
1.核心技术
1.线上预约平台
2.物联网技术
3.机械学习(深度学习)
2.商业模式;
产品与服务:本项目将提供自习室预约、活动报名、社区通知等多项功能,同时可根据用户需求定制个性化服务。平台将采用O2O模式,线上提供预约和管理服务,线下建立“一站式”学生社区,为师生提供更加便捷的服务需求。
客户群体:主要面向高校学生、学校管理者以及与之相关的服务机构和部门。
定价策略:通过合作和广告等方式获取额外收入。
销售渠道:与高校、社区等机构建立合作关系,共同推广平台服务。同时通过线上平台(如官网、APP等)和线下活动进行宣传推广,吸引用户注册和使用。
1. 创业过程
市场分析: 在项目启动之初,团队对市场进行了深入分析。根据教育部数据,我国高等教育在学总规模达到4763.19万人,这为项目提供了庞大的潜在用户基础。项目依托于黑龙江八一农垦大学,拥有稳定的客户群体,同时,作为校方支持的创新创业项目,能够以较低成本提供高效服务。
优势与劣势分析: 项目的优势在于依托高校的稳定用户基础和低成本运营模式。然而,劣势在于作为初创项目,资金链较弱,且互联网技术的快速迭代要求项目必须持续进行技术创新,以避免被市场淘汰。
创业团队组建: 团队由一名指导教师和三名学生成员组成。指导教师负责项目协调和对外输出,而学生成员分别负责项目运营、网络平台搭建与维护、以及营销策略和广告推广。
管理模式: 公司成立后,将设立市场部、运营部和技术部,各部门分工合作,共同推进项目进展。项目负责人将负责整体规划和资源调配,技术开发团队确保平台稳定运行,运营管理团队负责日常运营和用户管理,市场营销团队则负责推广和市场拓展。
创业投融资计划: 项目预计前期投入3-4万元,主要用于技术研发和人工费用。预计投资回收期为一年左右,随着平台的成熟和技术的稳定,预计收益将稳步增长。
风险防范: 项目团队已经识别了技术风险、管理风险、用户风险、政策与法规风险以及经济风险,并制定了相应的防范措施,如确保平台稳定运行、合理分配资源、提高用户认可度、遵守法律法规以及监控市场变化。
预期效益分析: 项目预计在前期投入后,将实现5万元的收益,并从第二年起收益稳步增长,预计在第3-4年实现盈利。
团队旨在建立一个高效、稳定且用户友好的“一站式”学生社区服务平台,以满足广大学生群体的需求,并推动智慧校园的建设与发展。
2. 市场分析
优势分析:据中华人民共和国教育部报道2023年我国高等教育在学总规模4763.19万人,该项目哪怕仅仅依托高校,也有非常可观的市场前景。同时,该项目立足于黑龙江八一农垦大学的学生服务社区,有既定的稳定客户群,作为本校的创新创业项目,可以提供更低成本但更高效的服务。后续拓展至其他高校,也可采用类似的方式。
劣势分析:作为大学生创新创业项目,初期资金链比较薄弱,如果经营不善,破产几率较高。互联网更新换代速度太快,如若没能及时更新技术,自我革新,容易被市场抛弃。
目前团队由一名指导教师和三名成员组成,指导教师主要负责项目的对外输出和协调安排团队分工,形成固定的创业团队,学生具体负责具体实施。
刘姿羽作为项目负责人,在本项目中负责具体任务的分配,统筹及运营等工作;
晏泰极、周念峰在本项目中网络平台的搭建、网站运营及维护;
于海茹在本项目中负责平台后期营销策略和广告推广策略等工作。
公司成立后,公司的各项业务由各个部门分工合作来完成。根据自身的实际情况划分为市场部、运营部、技术部。
项目负责人:负责项目的整体规划、进度控制和资源调配,确保项目按照学校要求进行。
技术开发团队:负责平台的技术实现和后期维护,确保平台的稳定运行和功能的不断完善。
运营管理团队:负责平台的日常运营,包括用户管理、活动组织、数据分析等,确保平台能够为用户提供及时、优质的服务。
市场营销团队:负责平台的推广和市场拓展,提升平台的知名度和影响力,让其不止局限于本校园内。

该项目的核心在平台的搭建和维护,目前来看,主要投入在技术研发方面,第一年的投入在3-4万左右,投资回收期为一年左右,前期投入高但利润较低,,但后期投入减少利润增高,该项目市场潜力大,客户稳定,属于能有即时收益的项目。该项目依托黑龙江八一农垦大学学生服务社区建设,经费主要用于平台的日常维护和新技术研发。
公司注重短期目标与中长期战略相结合。公司创建初期的5万元的原始资本,主要用于宣传费,研发费和经营运转。按照预计这些投资在2年的时间内就可以全部收回。在本校的试点经营逐渐成熟,公司技术逐渐稳定后,我们将采用创新扩张的形式来完成我们的计划,通过研发新技术或改进现有技术,提高产品或服务的竞争力将我们公司的产品推广到各个地区,进一步扩大品牌影响力。
1.技术风险:
预约平台需要稳定、可靠地运行,以满足大量师生的预约需求。技术故障或系统崩溃可能导致服务中断,影响学生体验。同时,信息的数据安全也同样值得重视平台涉及学生个人信息和预约数据,如果安全措施不到位,可能导致数据泄露或篡改。
2.管理风险:
如何公平、有效地分配社区学习资源是一个挑战。如果预约规则不合理或执行不严格,可能导致资源利用不均或浪费。
3.用户风险:
该项目需要极高的用户认可度,学生可能对新的预约平台持保守态度或存在使用困难。如果平台未能得到学生的广泛接受和认可,可能导致项目失败。同时对于违规行为的解决也是我们要面对的,学生可能存在恶意预约、占用资源等行为。如何有效防止和应对这些违规行为是一个需要关注的问题。
4.政策与法规风险:
平台需要遵守相关的法律法规,如数据保护、隐私安全等。如果违反这些规定,可能面临法律风险和处罚。
5.经济风险:
项目的收益预期可能受到多种因素影响,如市场竞争、高校需求变化等。如果收益预期未能实现,可能对项目造成经济压力。
序号 | 风险类型 | 描述 |
1 | 技术风险 | 预约平台需要稳定运行,技术故障或系统崩溃可能导致服务中断。数据安全同样重要,需防止数据泄露或篡改。 |
2 | 管理风险 | 公平、有效分配社区学习资源的挑战,需防止资源利用不均或浪费。 |
3 | 用户风险 | 项目需要高用户认可度,需解决学生对新平台的保守态度或使用困难,防止恶意预约等违规行为。 |
4 | 政策与法规风险 | 遵守数据保护、隐私安全等法律法规,避免法律风险和处罚。 |
5 | 经济风险 | 收益预期可能受市场竞争、高校需求变化等因素影响,需注意经济压力。 |

该项目预计前期投入3-4万元(包括技术研发预算和人工费用预算),之后每年投入约为2-3万元,项目前期预计收益5万元,第二年起收益预计呈稳步增长的趋势,第3-4年实现盈利。
| 开支科目 | 预算经费(元) | 主要用途 | 阶段下达经费计划(元) | |
|---|---|---|---|---|
| 前半阶段 | 后半阶段 | |||
| 预算经费总额 | 50000.00 | 无 | 27500.00 | 22500.00 |
| 1. 业务费 | 35000.00 | 无 | 17500.00 | 17500.00 |
| (1)能源动力费 | 0.00 | 无 | 0.00 | 0.00 |
| (2)会议费 | 10000.00 | 用于召开和参与各类企业相关会议 | 5000.00 | 5000.00 |
| (3)差旅费 | 15000.00 | 赴外校谈合作 | 7500.00 | 7500.00 |
| (4)文献检索费 | 5000.00 | 用于搜索相关资料 | 2500.00 | 2500.00 |
| (5)论文出版费 | 5000.00 | 用于团队成员论文发表及专利软著申请 | 2500.00 | 2500.00 |
| 2. 仪器设备购置费 | 10000.00 | 用于购买部分网页功能使用权限 | 5000.00 | 5000.00 |
| 3. 材料费 | 0.00 | 无 | 0.00 | 0.00 |
| 4. 企业注册金 | 5000.00 | 注册手续费级第一年会计公司会计费 | 5000.00 | 0.00 |